東晟產品分類
機械密封之雙流體旋轉接頭結構及元件作用?
來源:廣東東晟密封科技有限公司 - www.jkmxs668.cn更新時間:2016-05-07
在機械密封所出現的旋轉接頭是一種將靜態管道連接到旋轉密封元件中的特殊機械密封,東晟密封告訴您他可以現由靜態管向旋轉設備輸送液體,用于冷卻、加熱或增壓。周時間之內也可以對裝置來處理含水冷卻劑、液壓油、傳熱油、空氣、氣體或蒸汽等。
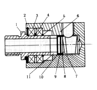
雙流體旋轉接頭結構截面圖
今天主要是為大家介紹關于機械密封中的雙流體旋轉接頭的結構及密封元件之間都有些什么樣互動(作用)。(可參考圖1)
1.管接頭1:為旋轉部分與動腔聯接;
2.接頭體11和管接頭9:是靜止部分,可分別聯接二液體靜腔,內管內、外均有流體;
3.彈簧6:均為起到密封效果衣防止流體泄漏的作用的分部;
4.聯接大10:均為起到密封效果衣防止流體泄漏的作用的分部;
5.靜環12:均為起到密封效果衣防止流體泄漏的作用的分部;
6.摩擦環13:均為起到密封效果衣防止流體泄漏的作用的分部;
7.動圈:均為起到密封效果衣防止流體泄漏的作用的分部;
8. 內錐套8及內管16:防止流體互混。
雙流體旋轉接頭基本上都是單一流體旋轉接頭基礎上升級的版本。之間最大的區別就是比單一流體旋轉接頭多了一個流體通道。
從單一及雙流體旋轉接頭結構可得知,旋轉接頭在不同的應用場合都有不同的結構,所以說不管單一及雙流體的結構如何變化,其中包含三大基礎部分可以說是不變的,即是旋轉部分、密封部分及靜止部分。旋轉部分與旋轉腔聯接,靜止部分與靜止腔聯接,而二部分之間有完整的液體通道,密封部分對流體進行密封,為防止流體泄漏及流體之間的互混。這就是二者之間相同地方了。
機械密封雙流體旋轉接頭www.jkmxs668.cn

