東晟產品分類
聯系我們
廣東東晟密封科技有限公司
電話:
傳真:
地址:石碣鎮橫滘工業區偉業街
郵編:523302
E-mail:
離心壓縮機用的典型氣膜密封結構都有什么特點
來源:廣東東晟密封科技有限公司 - www.jkmxs668.cn更新時間:2016-05-24
氣膜密封(又干氣密封)是一種新型的、先進的旋轉軸用機械密封。東晟密封件告訴您它主要用來密封旋轉流體機械中的氣體或液體介質。與其他密封相比,氣膜密封具有低泄漏率、無磨損運轉、低能耗、壽命長、效率高、操作簡單可靠、被密封流體不愛油污染等特點。譬如在壓縮機中,氣膜密封可替代迷宮密封、浮環密封及油潤滑機械密封。現在,氣膜密封在壓縮機及特殊泵領域得到廣泛的應用中。以下主要介紹一下關于機械壓縮機螺旋槽氣膜密封的結構都有什么特點呢?
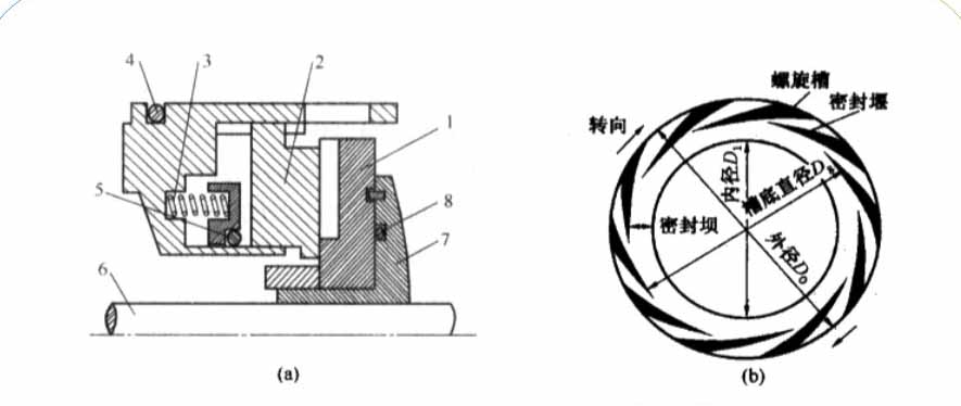
機械壓縮機螺旋槽氣膜密封的結構圖
我們先來看看螺旋槽氣膜密封結構圖(圖1)。而該密封結構是由轉環1、靜環2、彈簧3、O型密封圈4、5、8及軸6和組合裝套7組合而成的。
右邊的圖1-b所示是轉環表面精細加工出的螺旋槽而后經研磨、拋光的密封端面。螺旋槽深為幾個微米,開關近似對數螺旋線。密封端面主要由流體動壓槽(又叫螺旋槽)、密封堰和密封壩三部分組成。其中液體動壓槽起著泵送作用,形成流體膜,產生流體膜承載能力;密封堰產生液體膜靜、動壓承載能力,阻止液體沿圓周方向的泄漏;密封壩產生液體膜靜壓承載能力,阻止流體半徑方向的泄漏。以上簡單的介紹了關于壓縮機螺旋氣膜密封的典型結構的特點,下期東晟密封為大家介紹一下關于壓縮機螺旋氣膜密封的典型結構的密封工作原理都有什么特點?
