東晟產品分類
聯系我們
廣東東晟密封科技有限公司
電話:
傳真:
地址:石碣鎮橫滘工業區偉業街
郵編:523302
E-mail:
典型的活塞的V型組合密封件設計基本參數
來源:廣東東晟密封科技有限公司 - www.jkmxs668.cn更新時間:2018-05-25
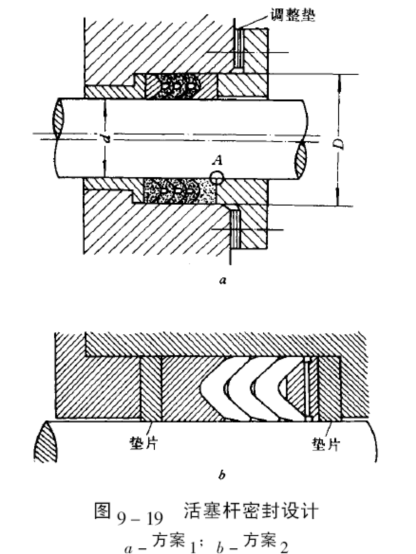
V型密封件壓緊力的大小和調節方式是設計時考慮的,因為它關系到密封性能。一般都采用調整墊的辦法(圖1)。
給出墊片的厚度和件數后,即可控制調整量。也可以采用螺母或設彈簧來進行調整(圖2)。
典型的活塞的V型組合密封件的設計原則:
1、V形圈既可作活塞密封,也可作活塞桿密封,由于它已經標準化,所以在設計時,主要工作是確定密封部位的結構和選擇其材料、圈數、以及確定它所配用的支承環、壓環的材料和尺寸。
2、V形圈作活塞密封的典型設計如圖2所示。
V型密封件 www.jkmxs668.cn
