東晟產品分類
【五】橡膠密封圈術語英文對照
來源:廣東東晟密封科技有限公司 - www.jkmxs668.cn更新時間:2018-07-14
以下主要表述了相關于液壓氣動用橡膠密封圈制品類型、檢驗和裝配;汽車用密封條的類型;旋轉軸唇形型密封圈的類型、密封元件、公差和配合、外觀缺陷等,東晟密封圈告訴您通常使用的密封圈術語、定義及英文對照。
1.軸密封接觸區
密封圈英文:seal land
密封定義:同密封圈唇接觸的經精加工的那部分軸表面。
2.徑向密封圈空間
密封圈英文:space,radial,seal
密封定義:軸外徑與腔體內孔內徑間的徑向距離(圖1所示)。
3.緊箍彈簧
密封圈英文:spring,garter
密封定義:連接成環的螺旋纏繞鋼絲彈簧,用于保持密封圈唇與軸之間的徑向密封力(圖2所示)
4.彈簧相對位置
密封圈英文:spring,position,relative
密封定義:密封圈唇刃口與彈簧溝槽中心線之間的軸向距離(圖1所示)。
5.外表面
密封圈英文:surface,outside
密封定義:密封圈的外表面,指壓配合表面(圖1所示)。
6.徑向寬度
密封圈英文:width,radial
密封定義:密封圈外表面與密封圈唇刃口間的徑向距離(圖1所示)。
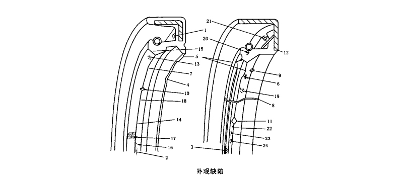
7.氣泡
密封圈英文:blister
密封定義:空心的表面隆起物(圖2所示)。
8.粘著失效
密封圈英文:bond failure
密封定義:彈性體和骨架密封材料之間粘合力不夠(圖2所示)。
9.龜裂
密封圈英文:crack
密封定義:在金屬或彈性體中的明顯的裂紋或裂縫(圖2所示)。
10.割口
密封圈英文:cut
密封定義:由尖銳的工具在密封圖材料上造成的相對較深的不連續的、密封材料未切掉的切口(圖2所示)。
11.形變
密封圈英文:deformation
密封定義:應力引起的開關或外形的變化(圖2所示)。
12.擠出
密封圈英文:extrusion
密封定義:密封圈某部分被擠入相鄰的縫隙而產生的永久的或暫時的位移。
13.填料凸出
密封圈英文:filler projection
密封定義:未分散的填料從彈性體表面凸起(圖2所示的)。
14.膠邊
密封圈英文:flash
密封定義:在模腔分模線或忘乎所以孔處由于擠出而形成的體薄型伸出物(圖2所示)。
15.雜質
密封圈英文:inctusion
密封定義:密封圈材料中所包含的雜物(圖2所示)。
了解更多密封圈的問題,就在東晟密封件廠家批發網哦!
本文章來自于網絡共享,版權歸原作者所有,如有侵權請告知,24小時內即刻下線!
文章整理東晟密封件公司dshmf.com
2018年07月14日-百度實時熱點(頭條新聞):#華為達芬奇計劃##特朗普寶寶上天了##胡歌經紀人被開除##中國網民7.72億##王祖藍升當爸##民航局退改簽新規#
