東晟產品分類
聯系我們
廣東東晟密封科技有限公司
電話:
傳真:
地址:石碣鎮橫滘工業區偉業街
郵編:523302
E-mail:
直角式組合密封件的密封機理和應用
來源:東莞市東晟密封件科技有限公司更新時間:2016-07-05
一、直角密封作用機理
直角密封件由直角滑環和O形密封圈組合而成,滑環創造性地采用了“薄唇”設計。為保證一定的密封彈力,O形密封圈具有預壓縮量,壓縮率一般取8%~23%范圍內。
具有一定預壓縮的O形密封圈給薄唇的滑環一個預壓緊力-“抱緊力”,使滑環密封唇緊緊貼合在被密封表面。因此,即使在微壓甚至零壓下,也具有良好的密封性。當耐磨性強的PTFE密封環長期工作形成磨損后,O形密封圈提供的彈力能使薄唇的滑環產生足夠的變形以補償極其細微的磨損量。因此,直角密封具有普通滑環式組合密封(通常指斯特封、格來圈)所不具備的自動補償功能。
唇口的方向應朝向壓力方向。隨著壓力,密封的“抱緊力”越大,如圖3b所示。此時密封的大徑向力Pmax等于流體壓力p和O形密封圈初始壓力p0 之和。壓力越大密封唇和軸的貼合越緊密,更容易得到理想的油膜(理想的油膜厚度為2.5um)。因此壓力越高密封性越好,即直角密封具有良好的自密封作用。O形橡膠密封圈被滑環的側邊擋著,因而不會被“擠出”,可以耐受高壓。
滑環唇口的厚度是該技術的關鍵。滑環太厚則剛性大,“跟隨補償性”差,在壓力作用下難以產生足夠的變形來彌補被密封表面的細微波谷,在高速、低壓及偏心振動等工況下泄漏量更大。另外聚四氟乙烯導熱性差,工作時摩擦熱很難散失,致使升溫過高,材料變軟抗磨性降低,更不利于油膜的形成,降低了工作壽命。但滑環太薄對沖擊載荷敏感,也給加工、裝配、運輸、安裝等帶來很大困難,不利于規模生產。經反復研究試驗,確定了理想的滑環厚度,既滿足了密封性的要求,又大大提高了工作壽命.二、直角密封件的特點及密封的基本結構形式
1、直角密封件的特點如下:
1)工作壽命高,是常規橡膠密封件制品的5~10倍,高達數十倍。
2)密封性能,油膜可調;
3)摩擦力小且動靜摩擦力相等,無“爬行”運動現象。
4)結構簡單,安裝方便。
5)適應性強。
2、直角密封適用工況條件
直角密封適用工況條件見下表:

3、直角密封基本結構形式
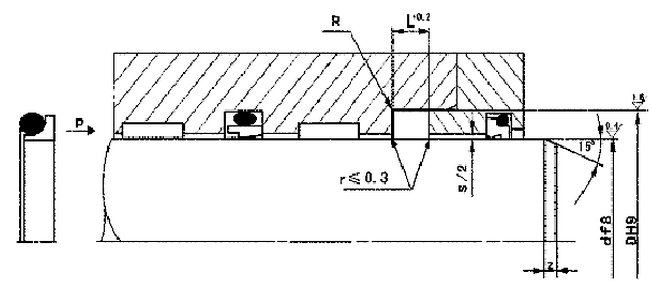
1)活塞桿用直角密封件的基本結構形式如圖所示。

2)活塞用直角密封件的基本結構形式如圖所示

三、直角密封件在生產實踐中的應用
直角密封件屬新型滑環式組合密封件,自投入市場以來,以其高壽命、低摩擦、無泄漏以及結構簡單適應性強等特點受到用戶普遍歡迎。可廣泛應用于航空、航天、兵器、機電、石油、化工、鐵路、地礦、紡織等行業的高低壓、高低溫的動靜密封部位。



